
Boiler - Oct. 12, 1920
|
|

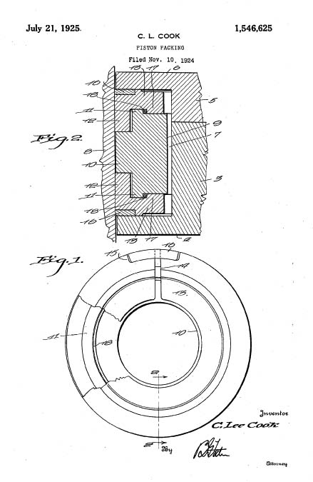
Piston Packing - July 21, 1925
|
|

Grinder - July 4, 1922
|
|

Transmission - Sept. 23, 1924
|

Pipe Joint - Oct. 28, 1924
|
|

Packing Ring - July 21, 1925
|
|

Piston Packing - July 21, 1925
|
|

Engine - March 2, 1926
|

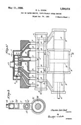
Steam Engine - May 11, 1926
|
|

Piston Packing - April 12, 1927
|
|

Steam Engine - May 3, 1927
|
|

Piston Packing - June 28, 1927
|

Measuring Device - Dec. 13, 1927
|
|

Crossing Guard - Dec. 27, 1927
|
|

Packing Ring - February 18, 1930
|
|

Scraping Means - Dec. 15, 1931
|